My contact person
Select location

After selection of your ZIP code, we designate the relevant staff to attend to you at once.

INT(EN)

Unsupported applications for short travels

What does "unsupported length" mean?
 

If the energy chain's upper run operates without touching the lower run over the entire travel, the application is considered unsupported. The unsupported length FLG is the distance between the moving end and the beginning of the energy chain's radius curve, along which the energy supply's upper run exhibits negligible sag. This ensures the longest service life for the energy chain. The unsupported application is the most frequently used energy chain application.
Unsupported energy chains
The unsupported length (FL)G installation type always ensures the longest service life and can be operated with the maximum speed and acceleration values.

The unsupported length has three distinct stages:

1

Unsupported length - straight FLG:
The energy chain either has a camber or is straight.
 

2

Unsupported length - with sag FLB:
The energy chain has a sag of more than half an e-chain height.
 

3

Critical sag:
The sag is greater than the permissible value for FLB. Installation with critical sag must be avoided.

Unsupported energy chains

Use the load diagram to check the standard values for unsupported lengths

The values in the load diagram are essential for finding a suitable energy chain for your fill weight and travel and determining the maximum load for the selected energy chain.
 
The black area on the load diagram indicates the unsupported length (FLG) in which the energy chain exhibits no sag. If the travel or cable weight increases, the energy chain begins to sag (FLB, the light grey area).
 Y AxisX AxisS
 Fill weight [kg/m]Unsupported length [m]Travel [m]
Reference Example A:1.5kg/m2.0m4.0m
Energy chain load diagram The load diagram can be found on the relevant product page.

Preferred series for unsupported applications


What to do if the unsupported length is insufficient?

If your application (fill weight and travel) fall outside the unsupported length range for the desired energy chain, you have the following options: 
  • Choose a stronger energy chain
  • Support the energy chain in the unsupported area. This option means restrictions for acceleration, speed and noise as a consequence. Three fundamental examples are detailed to below. Please consult igus® if you are considering this possibility. We will gladly provide you with a detailed proposal
  • Use a multiband e-chain or nest two energy chains inside one another. (Please consult igus®)
  • Design the travel distance as a gliding application
Supports in the unsupported area (FLG and FLB)
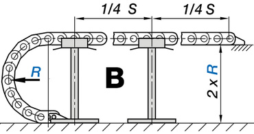
Unsupported energy chains A: The overall unsupported straight travel can be extended to a maximum of 50% of FLG.
Unsupported energy chains B: The overall unsupported straight travel can be extended to a maximum of 100% of FLG.
Unsupported energy chains C: The overall unsupported straight travel can be extended to a maximum of 100% of FLB .

The influence of speed and acceleration on service life

For unsupported applications, the acceleration (a) is the more critical parameter than the speed (v). High acceleration can cause the energy chain to vibrate, reducing its service life. This is especially serious if the energy chain already has a sag greater than FLG. Maximum values for acceleration (a), speed (v), and service life are achieved only with energy chains incorporating the FLG unsupported straight.
But then igus® e-chain systems® can sustain very high loads. To date, a peak acceleration of 784 m/s2 has been achieved during continuous use.
Standard maxium speed and acceleration values (unsupported)
  FLGFLB
v max.[m/s]203
v peak[m/s]50-
a max.[m/s2]2006
a peak[m/s2]784-
Standard guidelines values for service life at FLG 10 million cycles

Preferred series for maximum speed and acceleration


Energy chains online shop Select the right energy chain for your application in the online shop.
Energy chains Configure the energy supply system quickly and easily with the energy chain configurator.
Energy chain information More information about basics and calculation, filling rules, and more.


The terms "Apiro", "AutoChain", "CFRIP", "chainflex", "chainge", "chains for cranes", "ConProtect", "cradle-chain", "CTD", "drygear", "drylin", "dryspin", "dry-tech", "dryway", "easy chain", "e-chain", "e-chain systems", "e-ketten", "e-kettensysteme", "e-loop", "energy chain", "energy chain systems", "enjoyneering", "e-skin", "e-spool", "fixflex", "flizz", "i.Cee", "ibow", "igear", "iglidur", "igubal", "igumid", "igus", "igus improves what moves", "igus:bike", "igusGO", "igutex", "iguverse", "iguversum", "kineKIT", "kopla", "manus", "motion plastics", "motion polymers", "motionary", "plastics for longer life", "print2mold", "Rawbot", "RBTX", "RCYL", "readycable", "readychain", "ReBeL", "ReCyycle", "reguse", "robolink", "Rohbot", "savfe", "speedigus", "superwise", "take the dryway", "tribofilament", "tribotape", "triflex", "twisterchain", "when it moves, igus improves", "xirodur", "xiros" and "yes" are legally protected trademarks of the igus® SE & Co. KG / Cologne in the Federal Republic of Germany and where applicable in some foreign countries. This is a non-exhaustive list of trademarks (e.g. pending trademark applications or registered trademarks) of igus GmbH or affiliated companies of igus in Germany, the European Union, the USA and/or other countries or jurisdictions.

igus® SE & Co. KG points out that it does not sell any products of the companies Allen Bradley, B&R, Baumüller, Beckhoff, Lahr, Control Techniques, Danaher Motion, ELAU, FAGOR, FANUC, Festo, Heidenhain, Jetter, Lenze, LinMot, LTi DRiVES, Mitsubishi, NUM,Parker, Bosch Rexroth, SEW, Siemens, Stöber and all other drive manufacturers mention on this website. The products offered by igus® are those of igus® SE & Co. KG