My contact person
Select location

After selection of your ZIP code, we designate the relevant staff to attend to you at once.

INT(EN)

Vertical arrangement, hanging

According to the hanging installation principle, our energy chains allow travels (heights) of over 100m. In the field of material flow technology, energy chains allow bundled supply of a wide variety of cable types. An energy chain ensures that individual cables do not become entangled in shelf parts or protruding pallets.

Technical data

Maximum stroke height100m 
v max.20m/sDepending on stroke height and energy chain strength
a max.50m/s2Depending on stroke height and energy chain strength

Three installation types for vertical hanging applications


Movement without lateral acceleration

Without lateral acceleration

Diagram A: Vertical motion without lateral acceleration usually requires no guidance.
Movement with lateral acceleration

With lateral acceleration

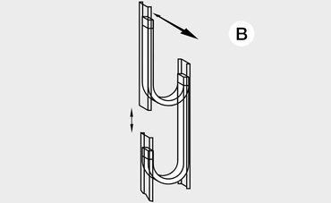
Diagram B: Lateral acceleration can occur in two directions. Guidance is necessary.
Movement with lateral acceleration

With lateral acceleration

Diagram C: Lateral acceleration can occur in two directions. Guidance is necessary.
Movement without lateral acceleration
If the application has purely vertical movement without lateral acceleration, the energy chain needs no lateral support. 

Movement with lateral acceleration
If there is lateral acceleration, the energy chain requires lateral guidance in most cases. Partial guidance is also an option. However, guidance must cover at least the area in which the energy chain may sway. 
The lateral acceleration then acts transversely to the energy chain, where it is more stable. If guidance is used, an energy chain with camber should be selected. This ensures that the energy chain is pressed into the guide trough.

If possible, the energy chain installation in diagram B is preferred.

Energy chains without camber

Use without camber for hanging applications with little space

A normal energy chain with camber is suitable for hanging use if enough space is available. Camber contributes to quiet energy chain operation, but requires a little more space. If there is no room - as is frequently the case for storage and retrieval systems in narrow aisles - a no-camber energy chain must be ordered. We offer numerous NC (no camber) versions without camber.

Order example: E4.32.10.175.0.NC

Proven 100,000 times over in practice

Our best sellers for hanging applications

guidelok vertical

guidelok vertical

Energy supply for vertical applications and storage and retrieval units.
E4.1 system

E4.1 system

High-strength modular system for almost all applications.
E2/000 system

E2/000 system

Quick to assemble and cost-effective.

Energy chains online shop Select the right energy chain for your application in the online shop.
energy chains Configure the energy supply system quickly and easily with the energy chain configurator.
Energy chain information More information about basics and calculation, filling rules, and more.


The terms "Apiro", "AutoChain", "CFRIP", "chainflex", "chainge", "chains for cranes", "ConProtect", "cradle-chain", "CTD", "drygear", "drylin", "dryspin", "dry-tech", "dryway", "easy chain", "e-chain", "e-chain systems", "e-ketten", "e-kettensysteme", "e-loop", "energy chain", "energy chain systems", "enjoyneering", "e-skin", "e-spool", "fixflex", "flizz", "i.Cee", "ibow", "igear", "iglidur", "igubal", "igumid", "igus", "igus improves what moves", "igus:bike", "igusGO", "igutex", "iguverse", "iguversum", "kineKIT", "kopla", "manus", "motion plastics", "motion polymers", "motionary", "plastics for longer life", "print2mold", "Rawbot", "RBTX", "RCYL", "readycable", "readychain", "ReBeL", "ReCyycle", "reguse", "robolink", "Rohbot", "savfe", "speedigus", "superwise", "take the dryway", "tribofilament", "tribotape", "triflex", "twisterchain", "when it moves, igus improves", "xirodur", "xiros" and "yes" are legally protected trademarks of the igus® SE & Co. KG / Cologne in the Federal Republic of Germany and where applicable in some foreign countries. This is a non-exhaustive list of trademarks (e.g. pending trademark applications or registered trademarks) of igus GmbH or affiliated companies of igus in Germany, the European Union, the USA and/or other countries or jurisdictions.

igus® SE & Co. KG points out that it does not sell any products of the companies Allen Bradley, B&R, Baumüller, Beckhoff, Lahr, Control Techniques, Danaher Motion, ELAU, FAGOR, FANUC, Festo, Heidenhain, Jetter, Lenze, LinMot, LTi DRiVES, Mitsubishi, NUM,Parker, Bosch Rexroth, SEW, Siemens, Stöber and all other drive manufacturers mention on this website. The products offered by igus® are those of igus® SE & Co. KG