My contact person
Select location

After selection of your ZIP code, we designate the relevant staff to attend to you at once.

INT(EN)

e-skin flat - technical details

The flat cable guidance system e-skin flat consists of individual cable chambers that can be joined together. One or more cables can be put into these chambers.  
 
There are 3 variants: 
  • Closed variants
    • SKF12C [Inner height = 12mm]
    • SKF15C [Inner height = 15mm]
  • Openable variants (Chambers can be opened and closed with a zipper) 
    • SKF12O [Inner height = 12mm]
Further information on the e-skin flat
 
Configure e-skin flat now

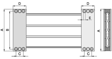
Installation dimensions

  • A = 37.5mm
  • B = 100mm
  • R = 40 - 100mm
  • S = up to 3000m
  • H = from 80mm
  • Lk = S/2 + K
  • K = 3.14 x R (largest bend radius of guided cables) + 2 x 100mm + 2 x 37.5mm
e-skin flat installation dimensions

Design principles


 

Design of the different variants

e-skin® flat design principle

Openable variants

With the SKF12O, cables can be replaced in minutes
e-skin® flat design principle

Fully enclosed

Protected against the ingress of particles with closed cable chambers SKF12C/SKF15C.

e-skin® flat design principle

Closed & openable variants

The diagram shows two sections connected to each other; on the left, when open and, on the right, when closed.

Filling options

e-skin® flat filling option

2 - 6 chambers

Filled with 1, 2 or 3 identical cables per chamber

Distribution rules
 

1Rule:
  • SKF12C: [A] Inner height = 12mm | [B] Outer height = 13mm ➔ Cable diameter 10mm
  • SKF15C:  [A] Inner height = 15mm | [B] Outer height = 16 mm ➔ Cable diameter 13 mm
2Rule:
  • SKF12O: [A] Inner height = 12mm | [B] Outer height = 13mm ➔ Cable diameter 10mm
3Rule:
  • Pod with enclosed support chain SKF.S for unsupported lengths of the SKF12C and for the avoidance of abrasion
e-skin flat filling rules
e-skin flat filling rules

SKF12O and SKF12C

1

If the cable diameter is 10mm, then only one cable in a pod

2

If cable diameter is 6.5mm, then a maximum of 2 cables in a pod

3

If cable diameter is 4mm, then max. 3 cables in a pod

e-skin flat filling rules

SKF15C

1

If cable diameter is 13mm, then only one cable in a pod

2

If cable diameter is 8mm, then a maximum of 2 cables in a pod

3

If cable diameter is 6mm, then a maximum of 3 cables in a pod

Mounting brackets

e-skin flat mounting brackets
A = 68.5 - 148.5mm
B = 53 - 157mm
C = 18mm
D = 37.5mm
Number of pods SKF12O.1.1.10Mounting bracket width [mm]Number of pods SKF12C.1.1.10Mounting bracket width [mm]Number of pods SKF15C.1.1.10Mounting bracket width [mm]
2
68,5
0
68,5
2
68,5
0
62,5
2
62,5
3
93
1
87
2
87
4
117,5
2
111,5
2
111,5
5
166,5
3
136
2
136
6
166,5
4
160,5
2
160,5
  
3
93
0
93
  
4
117,5
0
117,5
  
5
142
0
142
  
6
166,5
0
166,5
  
0
84
3
84
  
0
105,5
4
105,5
  
0
127
5
127
  
0
148,5
6
148,5
  
th>G [mm]
Part No. full setA [mm]B [mm]C [mm]D [mm]E [mm]F [mm]G [mm]
SKFC.MR.062562.55318.7537.54.597
SKFC.MR.068568.55918.7537.54.597
SKFC.MR.08408474.518.7537.54.597
SKFC.MR.08708777.518.7537.54.597
SKFC.MR.09309383.518.7537.54.597
SKFC.MR.1055105.59618.7537.54.597
SKFC.MR.1115111.510218.7537.54.597
SKFC.MR.1175117.510818.7537.54.597
SKFC.MR.1270127117.518.7537.54.597
SKFC.MR.1360136126.518.7537.54.597
SKFC.MR.1420142132.518.7537.54.597
SKFC.MR.1485148.513918.7537.54.597
SKFC.MR.1605160.515118.7537.54.597
SKFC.MR.1665166.515718.7537.54.597

Assembly notes


 
e-skin® flat cable guidance system In the case of the openable version, the sections can be opened individually.
e-skin® flat cable guidance system The cables can be fitted according to your requirements. Please note that only cables with the same diameter can be placed in a chamber.
e-skin® flat cable guidance system

After being filled, the e-skin flat can easily be closed by hand or with the MT.SK.914.868 tool.

e-skin® flat cable guidance system

If several chambers are needed, additional sections can simply be added.

e-skin® flat cable guidance system

The tapered section at the end is clamped in place due to the mounting brackets being screwed on and there is therefore no strain on the cables.



The terms "Apiro", "AutoChain", "CFRIP", "chainflex", "chainge", "chains for cranes", "ConProtect", "cradle-chain", "CTD", "drygear", "drylin", "dryspin", "dry-tech", "dryway", "easy chain", "e-chain", "e-chain systems", "e-ketten", "e-kettensysteme", "e-loop", "energy chain", "energy chain systems", "enjoyneering", "e-skin", "e-spool", "fixflex", "flizz", "i.Cee", "ibow", "igear", "iglidur", "igubal", "igumid", "igus", "igus improves what moves", "igus:bike", "igusGO", "igutex", "iguverse", "iguversum", "kineKIT", "kopla", "manus", "motion plastics", "motion polymers", "motionary", "plastics for longer life", "print2mold", "Rawbot", "RBTX", "RCYL", "readycable", "readychain", "ReBeL", "ReCyycle", "reguse", "robolink", "Rohbot", "savfe", "speedigus", "superwise", "take the dryway", "tribofilament", "tribotape", "triflex", "twisterchain", "when it moves, igus improves", "xirodur", "xiros" and "yes" are legally protected trademarks of the igus® SE & Co. KG / Cologne in the Federal Republic of Germany and where applicable in some foreign countries. This is a non-exhaustive list of trademarks (e.g. pending trademark applications or registered trademarks) of igus GmbH or affiliated companies of igus in Germany, the European Union, the USA and/or other countries or jurisdictions.

igus® SE & Co. KG points out that it does not sell any products of the companies Allen Bradley, B&R, Baumüller, Beckhoff, Lahr, Control Techniques, Danaher Motion, ELAU, FAGOR, FANUC, Festo, Heidenhain, Jetter, Lenze, LinMot, LTi DRiVES, Mitsubishi, NUM,Parker, Bosch Rexroth, SEW, Siemens, Stöber and all other drive manufacturers mention on this website. The products offered by igus® are those of igus® SE & Co. KG