My contact person
Select location

After selection of your ZIP code, we designate the relevant staff to attend to you at once.

INT(EN)

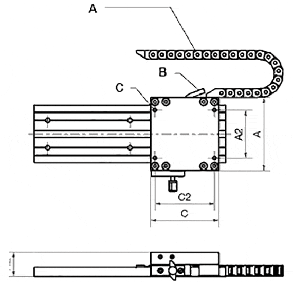
drylin® WKMEX-10-80: Ready-to-install measuring system

A = energychain 045.10.028.0, not part of the article
B = signal cables
C = K2
Very little installation space taken by the drylin® WKMEX measuring system. The sensor head is integrated into the just 36 mm high carriage. There are three sensor options, two are compatible with TTL Line Driver. An igus® e-chain® 045.10.028.0 is recommended for guiding the signal cable. For length-specific part numbers see:
System E2 micro
System easychain®

Ready-to-install system for external data output

At 4 edge triggering (setting parameters of the display or control system, for example, IW4) and +20 °C ambient temperature: resolution: ±(0.025 + 0.02 · L) L = measurement length in metres; repeatability: ±0.025 mm

At 1 edge triggering (setting parameters of the display or control system, for example, IW1) and +20 °C ambient temperature: resolution: ±(0.1 + 0.02 · L) L = measurement length in metres; repeatability: ±0.025 mm

Small sensor with integrated evaluation electronics

Output signals: differential mode sustained short circuit-proof with inverted signals (A. A/, B, B/, Z, Z/)

Delivery Program measuring device

All types A A2 C C2 H2 K2 Resolution    
  [mm] [mm] [mm] [mm] [mm] [mm] [mm]    
ready for shipping in 10 working days WKMEX-10-80-2.5-00-01 107 70 100 87 36 M6 0,1 Upon request Add to shopping cart
ready for shipping in 10 working days WKMEX-10-80-2.5-01-01 107 70 100 87 36 M6 0,1 Upon request Add to shopping cart
ready for shipping in 10 working days WKMEX-10-80-2.5-11-01 107 70 100 87 36 M6 0,1 Upon request Add to shopping cart
More about selected part:
3D-CAD 3D-CAD
Sample request Sample request
PDF PDF
Quote request Quote request
myCatalog myCatalog
  Sensor type Nominal voltage Output power max. length of signal cable
  00 10 - 30 V 10 - 30 V 30 m
  01 10 - 30 V 5 V (TTL Line Driver) 50 m
  11 5 V 5 V (TTL Line Driver) 10 m
specifications
Measuring principle Incremental
Repeat accuracy ± 1 increment
Pole division 5 mm
Sensor housing Zinc die cast
Protection class IP67
Operating temperature -10 … +70° C
Max. humidity 95%, non-condensing
Max. speed 4,0 m/s
VDC power supply 5 VDC or 10 to 30 VDC
Current draw 5 VDC: max. 200 mA
10 to 30 VDC: max. 150 mA
Internal evaluation electronics Internal evaluation electronics
Output power 5 V-TTL line driver or 10 to 30 V_HTL
Source tracks A, A‘,B, B‘, Z, Z‘
Max. cable length Max. cable length 5V/5V-TTL = 10 m
10-30V/10-30V = 30 m
10-30V/5V-TTL = 50 m

Max. permissible distance from magnetic tape 2,0 mm
Connection method Open cable ends

More information:


ready for shipping in 10 working days

The terms "Apiro", "AutoChain", "CFRIP", "chainflex", "chainge", "chains for cranes", "ConProtect", "cradle-chain", "CTD", "drygear", "drylin", "dryspin", "dry-tech", "dryway", "easy chain", "e-chain", "e-chain systems", "e-ketten", "e-kettensysteme", "e-loop", "energy chain", "energy chain systems", "enjoyneering", "e-skin", "e-spool", "fixflex", "flizz", "i.Cee", "ibow", "igear", "iglidur", "igubal", "igumid", "igus", "igus improves what moves", "igus:bike", "igusGO", "igutex", "iguverse", "iguversum", "kineKIT", "kopla", "manus", "motion plastics", "motion polymers", "motionary", "plastics for longer life", "print2mold", "Rawbot", "RBTX", "RCYL", "readycable", "readychain", "ReBeL", "ReCyycle", "reguse", "robolink", "Rohbot", "savfe", "speedigus", "superwise", "take the dryway", "tribofilament", "tribotape", "triflex", "twisterchain", "when it moves, igus improves", "xirodur", "xiros" and "yes" are legally protected trademarks of the igus® SE & Co. KG / Cologne in the Federal Republic of Germany and where applicable in some foreign countries. This is a non-exhaustive list of trademarks (e.g. pending trademark applications or registered trademarks) of igus GmbH or affiliated companies of igus in Germany, the European Union, the USA and/or other countries or jurisdictions.

igus® SE & Co. KG points out that it does not sell any products of the companies Allen Bradley, B&R, Baumüller, Beckhoff, Lahr, Control Techniques, Danaher Motion, ELAU, FAGOR, FANUC, Festo, Heidenhain, Jetter, Lenze, LinMot, LTi DRiVES, Mitsubishi, NUM,Parker, Bosch Rexroth, SEW, Siemens, Stöber and all other drive manufacturers mention on this website. The products offered by igus® are those of igus® SE & Co. KG