My contact person
Select location

After selection of your ZIP code, we designate the relevant staff to attend to you at once.

INT(EN)

Calculation of e-chain® lengths and pre-load

How to calculate energy chain length for linear motion

First determine the fixed end – the position of the energy chain connection that does not move. We recommend placing the fixed end in the centre of the travel. This gives you the most cost-effective solution because it requires less energy chain and less cable. The fixed end can also be located away from the travel centre, of course. Chain length is calculated as follows:

The fixed end in the centre of the travel
is always the most cost-effective solution

For unsupported applications

For unsupported applications, the energy chain's upper run moves parallel to the lower run across the entire horizontal travel.
 

For fixed ends in the centre of the travel

Chain length calculation

Lk = S/2 + K

AbbreviationsMeaningUnit
LKEnergy chain length[mm]
S/2Half length of travel[mm]
KAdd-on for bend radius (K is taken from the data tables of the individual series)[mm]
RBend radius[mm]

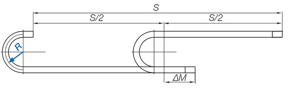
For fixed ends off the centre of the travel

Chain length calculation

Lk = S/2 + ∆M +K

AbbreviationsMeaningUnit
LKEnergy chain length[mm]
S/2Half length of travel[mm]
KAdd-on for bend radius (K is taken from the data tables of the individual series)[mm]
∆MDeviation of the centre point[mm]
RBend radius[mm]

For gliding applications

On a gliding energy supply, the energy chain glides for one half on the lower run and for the other half on a glide bar.
Chain length calculation A = Moving end
B = Fixed end
C = Guide trough with glide bar
D = Guide trough without glide bar
E = Total guide trough length

Lk = S/2 + K2

AbbreviationsMeaningUnit
LKEnergy chain length[mm]
S/2Half length of travel[mm]
K2Add-on for bend radius if the mounting point height is lowered[mm]
∆CLOffset fixed end[mm]
RBend radius[mm]
D2Over length for long travels gliding[mm]
H2Installation height with lowered mounting[mm]
HRiInner trough height[mm]

Pre-load

Pre-load is the curve of the upper run along its unsupported length. Without pre-load, the upper run would sag along the unsupported length under the weight of the inserted cables and hoses. Above a critical value, the energy chain could no longer be guaranteed to operate reliably. That is why igus manufactures all energy chains with pre-load.
Advantages of pre-load:
  • Longer unsupported lengths
  • Longer service life and better operating reliability
The required installation height depends on the pre-load of the energy chain with the total value HFYou can find the dimension HF on the product pages.
AbbreviationsMeaningUnit
HNominal clearance height[mm]
HFRequired clearance height[mm]
e-chain

Energy chain configurator

With the energy chain configurator "e-chain expert", you can assemble your individual ready-to-connect energy chain system in just a few steps. 
  • Fast, simple online design
  • Price, service life, and delivery time are displayed
  • Share current processing status with others
Configure energy chains now


The terms "Apiro", "AutoChain", "CFRIP", "chainflex", "chainge", "chains for cranes", "ConProtect", "cradle-chain", "CTD", "drygear", "drylin", "dryspin", "dry-tech", "dryway", "easy chain", "e-chain", "e-chain systems", "e-ketten", "e-kettensysteme", "e-loop", "energy chain", "energy chain systems", "enjoyneering", "e-skin", "e-spool", "fixflex", "flizz", "i.Cee", "ibow", "igear", "iglidur", "igubal", "igumid", "igus", "igus improves what moves", "igus:bike", "igusGO", "igutex", "iguverse", "iguversum", "kineKIT", "kopla", "manus", "motion plastics", "motion polymers", "motionary", "plastics for longer life", "print2mold", "Rawbot", "RBTX", "RCYL", "readycable", "readychain", "ReBeL", "ReCyycle", "reguse", "robolink", "Rohbot", "savfe", "speedigus", "superwise", "take the dryway", "tribofilament", "tribotape", "triflex", "twisterchain", "when it moves, igus improves", "xirodur", "xiros" and "yes" are legally protected trademarks of the igus® SE & Co. KG / Cologne in the Federal Republic of Germany and where applicable in some foreign countries. This is a non-exhaustive list of trademarks (e.g. pending trademark applications or registered trademarks) of igus GmbH or affiliated companies of igus in Germany, the European Union, the USA and/or other countries or jurisdictions.

igus® SE & Co. KG points out that it does not sell any products of the companies Allen Bradley, B&R, Baumüller, Beckhoff, Lahr, Control Techniques, Danaher Motion, ELAU, FAGOR, FANUC, Festo, Heidenhain, Jetter, Lenze, LinMot, LTi DRiVES, Mitsubishi, NUM,Parker, Bosch Rexroth, SEW, Siemens, Stöber and all other drive manufacturers mention on this website. The products offered by igus® are those of igus® SE & Co. KG